Tractor Spindle - Parts & Information

About Tractor Parts & Repair: Our site brings you the info and resources you need to care for your tractor. Learn more about Tractor Spindle here, and find the parts you need to maintain your tractor and keep it at optimal performance.

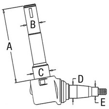
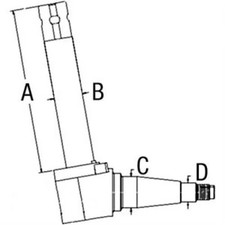
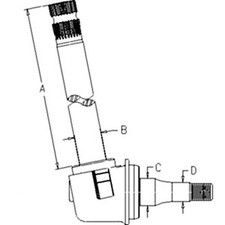
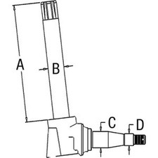
Tractor Spindle

A tractor spindle is a type of machine that has the ability to move large amounts of weight from one location to another. This can be used for different types of farm operations such as feeding livestock or simply moving logs and other large items from one side of the farm to another. The most common type of tractor in the United Kingdom is the John Deere, but there are many other manufacturers that make them. There are many different brands that you can choose from when it comes to finding one that will best fit your needs. Some of these include Hitachi, Kubota, Trenco, and Caterpillar.

Although they are not necessary for doing farm work, having a tractor spindle is beneficial because it allows you to do things more efficiently. The equipment will save you time and money because it will allow you to plow through fields faster and because it will be able to do jobs that other equipment would have been unable to do. For example, the Hitachi Tractor offers a glowing blade that is longer than that of most other models, which allows you to get into places that other equipment would not be able to safely go into.

There are many advantages to owning a tractor spindle, but there are also some disadvantages that you need to consider before purchasing one. First of all, they are quite large and can take up quite a bit of room. Another issue is that it is much more difficult to maintain than other types of equipment out there. Finally, they do require a great deal of work in order to keep them working in good shape. If you do not have a tractor that you are currently using, then it may be time for you to consider purchasing one.

This site features a wide variety of tractor parts available for sale online. Browse the listings for Tractor Spindle below to find real-time inventory for sale. Our Tractor Spindle inventory updates daily, so be sure to check back often.

* This site contains affiliate links for which I may be compensated